電源浪涌保護器接線為什么是并聯,而不是串聯?
電源浪涌保護器也叫電源防雷模塊、SPD防雷器等,主要安裝于電氣柜內35mm標準導軌上。
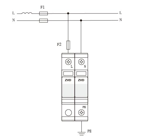
接線時從主開關引線并聯到浪涌保護器上的L和N端口,如下圖所示:
這時很多朋友會疑問,并聯在線路上能起到防雷作用嗎?感覺應該要串聯才能起到阻隔浪涌的作用呀?
根據浪涌保護器選型經驗,中為防雷從以下內容給大家介紹“電源浪涌保護器接線為什么是并聯而不是串聯”。
1、浪涌保護器內部元器件無法直接串聯在線路中
我們知道,浪涌保護器內部的主要元器件是MOV壓敏電阻和GDT放電管,這些元器件兩端阻抗正常是無窮大的,直接串聯在線路上就相當于斷開線路了,所以浪涌保護器內部元器件就注定只能并聯無法串聯。
那么為什么有些電源浪涌保護器接線是串聯呢,比如中為防雷公司的ACM-10系列。
其實,雖然這款產品外部接線是串聯,但是內部防雷元器件還是并聯在線路中的。有些串聯型的電源防雷器會在線路上串聯電感等退耦器件,實現多級防雷效果,但是只能用于小電流環境(一般在2A以下),具有很大的局限性。
目前電力系統常用的一二三級浪涌保護器使用環境都是電流在幾十到幾百甚至幾千安的電流環境,只有并聯型產品更適合。
講到這里順便提一下:浪涌保護器因為是并聯在線路上,所以系統電流的大小是無法直接影響到浪涌保護器的。
2、并聯一樣起到防雷效果
浪涌保護器主要的工作原理是,當系統線路上產生過電壓浪涌,并聯在線路上的防雷模塊內部壓敏或放電管,阻抗會變為極低,雷電浪涌的特性就是哪里阻抗低走哪里,所以會通過浪涌保護器引入大地,起到泄放浪涌的效果。
所以,浪涌保護器并聯在線路中是沒毛病的。不過可別忘記接地,如果浪涌保護器不接地,泄放通道沒有了,那并聯在線路上的浪涌保護器真就起不到作用了。
ZVD中為防雷,轉載需授權!http://www.ksqyjh.cn/knowledge/0421417.html
廣東中為智能防雷技術有限公司
